![]()
|
Produtos e Serviços Materiais impressos |
Os produtos impressos classificam-se como, tais como, publicações periódicas, livros, catálogos, DM, documentos comerciais e outros tipos de impressos.
Produtos que se adequam a impressos
| Artigos que podem ser enviados como materiais impressos |
Livro, catálogo, publicações periódicas como livros e revistas.
DM |
|
Esse tipo de produto também é consideração material impresso.
Agenda, Diário
baralho |
|
| Artigos que não podem ser enviados como materiais impressos |
Caixa de remédios, probdutos de beleza, etc.
Documentos feitos pelo computador (se for acima de 2 unidades é considerado) |
Detalhes de Produtos que se adequam a impressos
Serviço para clientes corporativos ou em grande quantidade
Para enviar impressos em grande quantidade o serviço abaixo é vantajoso!

No caso de enviar mais de 300 itens de material impresso ao mesmo tempo, é possível utilizar um serviço com preço especial vantajoso.
Tarifa
Pode enviar de uma forma vantajosa e mais barata que a correspondência não padrão.
Sobre o serviço
| Materiais impressos | ||
|---|---|---|
| Tamanho máximo | Tamanho mínimo | |
| Tamanho |
Comprimento+Largura+Espessura=90cm
a(comprimento) 60cm
|
Comprimento 14cm
|
|
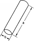
Quanto a rolos
a (comprimento) 90cm |
Quanto a rolos
a (comprimento) 21cm |
|
| Peso |
5kg
|
|
| Formas de envio |
Via aérea |
|
| Serviços Opcionais disponíveis |
Carta registrada |
|
Condições de uso, pontos para tomar cuidado
- Os materiais impressos não são tratadas como registros, pois são correspondências comuns, como cartas e cartões postais. Caso seja necessário um registro, use o serviço opcional de correio registrado.
-
No caso de enviar itens que possam ser aplicáveis à inspeção alfandegária (itens de valor monetário, como livros e publicações), é necessário enviá-los com uma etiqueta* criada através do serviço "Minha Página" do Correio Internacional, pois é necessário anexar a Declaração para a Alfândega (CN22 e CN23) e transmitir o Electronic Advance Data (EAD).
Observe que livros e calendários, em particular, mesmo que sejam enviados por Materiais impressos, podem ser considerados aplicáveis à inspeção alfandegária pelas autoridades alfandegárias do país/região de destino e devolvidos por não estarem acompanhados de uma Declaração para Alfândega ou por não ter sido transmitido o EAD. As despesas postais não serão reembolsadas em caso de atraso ou devolução, pois isso fica a critério das autoridades fiscais do país de destino.- No tipo de envio, selecione "Printed Matter" ou "Printed Matter (Registered)".
- Indique na parte superior esquerda do item postal "Printed Matter (ou Imprimé) (se o nome e endereço do remetente está escrito nesta parte, escrever o destino logo abaixo)
-
Caso empacotar materiais impressos, em princípio, há necessidade deste poder ser aberto para verificação de seu conteúdo.
-
Lista de comparação de serviços
Apresentaremos serviços sob medida para as suas necessidades.














