
同一寄信人寄出的大量的印刷品 (同时300封以上)或者小型包装物 (同时50封以上),是适用特别价格的邮件。
D邮件 (航空优先大宗邮件)的特长
|
|
- DM等印刷品(2kg以下)、以型包装物(2kg以下)形式寄送的海外邮购的商品,一次大量寄出时,是非常合算的价格。
- 作为航空邮件受理优先送达。
印刷品的详细
小型包装物的详细
|
P邮件 (航空非优先大宗邮件)的特长
|
|
- DM等印刷品(5kg以下)、以小型包装物(2kg以下)形式寄送的海外邮购的商品、在送达上多少有些时间上充裕的物品,一次大量寄出时,是非常合算的价格。
- 与D邮件相比,在送达天数上需要若干充裕的时间。
印刷品的详细
小型包装物的详细
|
费用
与个别寄送印刷品和小型包装物相比,可以合算地寄送大量的邮件。
服务指南 (尺寸・重量)
| |
D邮件・P邮件 |
| 最大的尺寸 |
最小的尺寸 |
| 大小(印刷品) |
长度+宽度+厚度=90cm (容许差 2mm) 但、最大长度为60cm (容许差 2mm)

a (长度) 60cm a+b+c=90cm
|
长度 14cm 宽度 9cm (容许差 2mm)

|
|
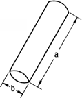
卷轴 长度+直径的2倍=104cm (容许差 2mm) 但最大长度为90cm (容许差 2mm)

a (长度) 90cm a+2b=104cm
|
(推荐) 卷轴 长度+直径的2倍=30.4cm 但最小长度为21cm

a (长度) 21cm a+2b=30.4cm
|
| 大小(小型包装物) |
长度+宽度+厚度=90cm (容许差 2mm) 但、最大长度为60cm (容许差 2mm)

a (长度) 60cm a+b+c=90cm
卷轴 长度+直径的2倍=104cm (容许差 2mm) 但最大长度为90cm (容许差 2mm)

a (长度) 90cm a+2b=104cm
|
长度 14.8cm 宽度 10.5cm (容许差 2mm)

(推荐) 卷轴 长度+直径的2倍=30.4cm 但最小长度为21cm

a (长度) 21cm a+2b=30.4cm
|
| 重量 |
D邮件・・・2kg以下 P邮件・・・5kg以下
|
※形状和重量不一样也没有关系。
利用的条件
| |
D邮件 (航空优先大宗邮件) |
P邮件 (航空非优先大宗邮件) |
| 邮件的种类 |
印刷品或者小型包装物 |
| 寄出的数量 |
| 1次寄出的数量 |
印刷品 |
300封以上 |
| 小型包装物 |
50封以上 |
|
| 事前区分等 |
- 根据寄发邮局的指定,请区分收信国(地区)・特别受理的有无。
- 请在寄发邮局所给的纸上填写收信国(地区)名,明确标注“航空割引 (航空折扣)”,与邮件一起捆绑。
|
- 根据寄发邮局的指定,请区分收信国(地区)・特别受理的有无。
- 请在寄发邮局所给的纸上填写收信国(地区)名,明确标注“航空特割 (航空特别折扣)”,与邮件一起捆绑。
|
| 邮件的表示方法 |
请在邮件的左上部作如下填写。
- 印刷品
“Air Mail”以及“Printed Matter”
(或者“Par avion”以及“Imprimé”)
- 小型包装物
“Air Mail”以及“Small Packet”
(或者“Par avion”以及“Petit Pãcket”)
|
请在邮件的左上部作如下填写。
- 印刷品
“Printed Matter”以及“航空非優先(航空非优先)”
(或者“Imprimé”以及“航空非優先(航空非优先)”
- 小型包装物
“Small Packet”以及“航空非優先(航空非优先)”
(或者“Petit Pãcket”以及“航空非優先(航空非优先)”
※通过事前区分等和标有“航空特别折扣”的纸张能够一起捆绑时、“航空非优先”的表示可以省略。
|
| 费用支付方法 |
另外付费 (仅限于用现金等※支付费用) 。以邮资另付或者事后付费的为对象。
|
| 寄出时刻 |
请在寄发邮局所指定的时刻之前寄出。 |
| 选项服务 |
不能附加挂号以外的选项服务。
- 小型包装物的挂号邮件,将于2025年12月31日(星期三)停止受理。
|
| 受理邮局 |
| 地方 |
都道府县名 |
受理邮局名 |
| 关东 |
埼玉县 |
SAITAMA新都心邮局 |
| 群马县 |
馆林邮局 |
| 千叶县 |
成田邮局 |
| 神奈川县 |
绫濑邮局、川崎东邮局、川崎港邮局以及横滨港邮局 |
| 东京都 |
赤坂邮局、牛込邮局、大崎邮局、神田邮局、银座邮局、麹町邮局、小石川邮局、品川邮局、芝邮局、涩谷邮局、新宿邮局、新宿北邮局、高轮邮局、东京国际邮局、丰岛邮局、日本桥邮局、晴海邮局、本乡邮局以及代代木邮局 |
| 中部 |
新泻县 |
长冈邮局以及新泻中央邮局 |
| 长野县 |
长野东邮局以及松本南邮局 |
| 爱知县 |
名古屋中央邮局以及名古屋中邮局 |
| 近畿 |
京都府 |
京都中央邮局 |
| 大阪府 |
大阪北邮局、大阪国际邮局、大阪西邮局、大阪东邮局、大阪南邮局以及住之江邮局 |
| 兵库 |
神户中央邮局 |
| 九州・冲绳 |
福冈县 |
北九州中央邮局、新福冈邮局、博多邮局以及福冈中央邮局 |
| 冲绳县 |
那霸中央邮局 |
|
| 其他 |
因为寄发邮局不同,有时事先区分等方法也不同,所以,请事先与寄发邮局商量。 |